
督查督辦是推動集團高質量發展,保障各項決策落實落地的重要手段,是提高工作執行力、改進工作作風、密切各單位聯系的重要渠道。為進一步做好重大決策事項和重點工作的督促落實,科技集團牽頭建設了鹽城港“督查督辦系統”,并于近日正式上線試運行。
![]()
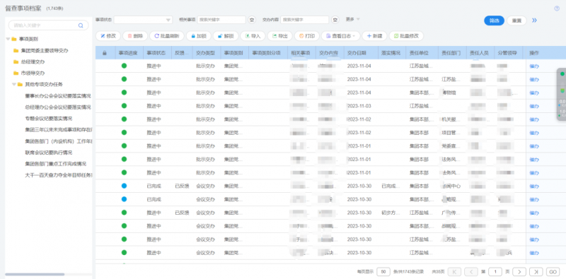
該系統實現了對督查督辦全流程的電子化管理,包括任務下達、執行監控、結果反饋等環節。通過系統,能夠智能分配任務,對任務進度進行實時監控,并推送提醒,確保任務能夠按時完成。同時,系統建立了完備的督辦檔案,詳細記錄工作的全過程,被督查人可以隨時查看并反饋處理情況。
相較于傳統的督查督辦方式,該系統實現了過程和結果的精確記錄,確保了督查督辦的規范化進行。系統支持移動APP及電腦端訪問,實現一鍵送達、一鍵反饋,線上線下有機融合,形成了閉環式督辦流轉機制,解決了以往督辦事項碎片化、跟蹤不可視、責任鏈條不完整等問題,全面實現了對全流程管控,有效防止了工作流于形式。此外,系統具有適時預警提醒功能,正常推進及序時內事項顯示“綠色”,完成事項顯示“藍色”,欠序時事項顯示“黃色”,并通過OA系統進行待辦提醒。
![]()
展望未來,科技集團將持續優化完善該系統,以科技賦能督查工作,推動督查督辦實現全面信息化,確保集團各項決策部署真正落到實處,為集團高質量發展提供堅強保障。